United States Patents awarded
Method for Delivering Information in a Closed Loop MultiMedia System U. S. Patent Number 6,717,957
awarded to Douglas B. Quine on April 6, 2004
assigned to Pitney Bowes
ABSTRACT: A closed-loop message distribution method is disclosed for accepting documents from a variety of sources via a plurality of media, presenting the documents to a plurality of recipients through their preferred communications channel, document personalization, and suppressing delivery of follow-up documents to those recipients who have responded to an earlier related message.
US Patent 6,717,957 complete patent PDF text and images
FIELD OF THE INVENTION: The present invention relates to a method for eliminating duplicate or unnecessary messages in a message delivery system. More particularly, it relates to a method for accepting documents from a variety of sources via a plurality of media, forwarding the received documents to a plurality of recipients through their preferred communications mode/channel, personalizing/condensing documents, and suppressing the delivery of follow-up documents to those recipients who have responded to an earlier notification/message.
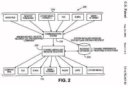
Business-To-Employee Messaging System U. S. Patent Number 6,782,415
awarded to Douglas B. Quine on August 24, 2004
assigned to Pitney Bowes
ABSTRACT: A closed-loop message distribution system is disclosed for accepting documents from a variety or sources via a plurality of media, presenting the documents to a plurality of recipients through their preferred communications channel, document personalization, and suppressing delivery of follow-up documents to those recipients who have responded to an earlier related message.
US Patent 6,782,415 complete patent PDF text and images
FIELD OF THE INVENTION: The present invention relates to a system for eliminating duplicate or unnecessary messages in a message delivery system. More particularly, it relates to a system for accepting documents from a variety of sources via a plurality of media, forwarding the received documents to a plurality of recipients through their preferred communications mode/channel, personalizing/condensing documents, and suppressing the delivery of follow-up documents to those recipients who have responded to an earlier notification/message.
Method For Displaying An Environmentally Modulated Expiration Date U. S. Patent Number 6,795,376
awarded to Douglas B. Quine on September 21, 2004
assigned to Pitney Bowes
ABSTRACT: A system and method for dynamically adjusting expiration dates displayed on consumer products, the system and method utilizing an LCD display for displaying an expiration date and messages, sensors for monitoring environmental conditions, a clock for counting back the expiration date, and a controller for determining messages and adjustments to the displayed expiration date based on monitored environmental conditions.
US Patent 6,795,376 complete patent PDF text and images
FIELD OF THE INVENTION: The present invention relates to a system and method for displaying expiration dates for consumer products, and more particularly, relates to an environmentally modulated expiration date display that adjusts the expiration date to reflect changes resulting from environmental factors.
Dynamic electronic forwarding system U. S. Patent Number 6,832,246
awarded to Douglas B. Quine on December 14, 2004
assigned to Pitney Bowes
ABSTRACT: A method for forwarding an e-mail message from a disfavored e-mail address to a forwarding e-mail address via a remote e-mail forwarding computer having a unique e-mail address. An e-mail message is sent from a user to the remote e-mail forwarding computer. The remote e-mail forwarding computer parses the intended e-mail address from the e-mail message to determine if there is a disfavored e-mail address associated with the intended e-mail address. The e-mail message is sent from the remote computer to the computers associated with the forwarding address[es] if there is determined at least one disfavored e-mail address is associated with the intended e-mail address.
US Patent 6,832,246 complete patent PDF text and images
FIELD OF THE INVENTION: The present invention relates to a system and method for forwarding electronic messages, and more particularly, relates to a system and method for use of a dynamic e-mail forwarding system capable of forwarding e-mail transmitted to one or more e-mail addresses to one or more prescribed e-mail forwarding addresses.
System and method for cleansing addresses for electronic messages U. S. Patent Number 6,839,738
awarded to Douglas B. Quine and Karl H. Schumacher on January 4, 2005
assigned to Pitney Bowes
ABSTRACT: A method for correcting an e-mail message that has been determined as being undeliverable via a remote e-mail correcting computer having a unique e-mail address including the steps of prescribing at least one domain name address in the remote e-mail computer by a subscriber and prescribing at least one format for formatting e-mail addresses intended to be sent to the at least one domain name address. A server then sends to the remote computer an e-mail message addressed to an intended e-mail address that was determined undeliverable. The remote computer receives this e-mail message from the senders computer that was addressed to an intended e-mail address. The intended e-mail address is parsed from the e-mail message in the remote computer to determine if the domain name address of the e-mail message has been prescribed with the remote computer. And, if yes, a message is sent to the senders computer indicating the prescribed at least one format for the parsed domain name address if the parsed domain name address has been prescribed with the remote computer.
US Patent 6,839,738 complete patent PDF text and images
FIELD OF THE INVENTION: The present invention relates to a system and method for forwarding electronic messages, and more particularly, relates to cleansing the addresses for e-mail messages that were previously returned to the sender as undeliverable.
Closed system meter having address correction capabilities U. S. Patent Number 6,865,561
awarded to Robert W. Allport, Stephen Kelly, Timothy J. Nicholls, Christopher J. Capelli, and Douglas B. Quine on March 8, 2005
assigned to Pitney Bowes
ABSTRACT: System and method are provided for generating a Postnet bar code with a closed system metering device. Before an indicium is printed on a mailpiece, a scanner is used to scan recipient address information printed on a mailpiece. Using the scanned information, the metering device determines the Postnet bar code corresponding to the scanned information. A check is then made to determine if the recipient address information has changed from the scanned information. If it has not changed, the metering device prints the postal code on the mailpiece. When the recipient address information has changed, the metering device generates a corrected postal code and prints the corrected postal code and the corrected address on the mailpiece.
US Patent 6,865,561 complete patent PDF text and images
FIELD OF THE INVENTION: The present invention relates generally to postage metering systems. More particularly, the present invention is directed to closed postage metering systems that print digital indicia.
System and method for cleansing addresses for electronic messages U. S. Patent Number 6,895,427
awarded to Douglas B. Quine and Karl H. Schumacher on May 17, 2005
assigned to Pitney Bowes
ABSTRACT: A method and system for forwarding an e-mail message intended to be delivered to a first e-mail address to a second e-mail address in the event the first e-mail address is disfavored. An e-mail message is sent from a from a first computer that was originally addressed to a first e-mail address to a second computer that is capable of forwarding the e-mail message to a second e-mail address. The second computer receives the e-mail message and parses the first e-mail address from the e-mail message to determine if there is a second e-mail address associated with the first e-mail address. If there is a second e-mail address associated with the first e-mail address, the second computer sends the e-mail message to a third computer associated with the second e-mail address. If there is not, then the second computer determines if it can suggest a username, or a new username format to be used for the username associated with the domain name address of the disfavored e-mail address.
US Patent 6,895,427 complete patent PDF text and images
FIELD OF THE INVENTION: The present invention relates to a system and method for forwarding electronic messages, and more particularly, relates to cleansing the addresses for e-mail messages that were previously returned to the sender as undeliverable.
System and method for forwarding electronic messages U. S. Patent Number 6,957,248
awarded to Douglas B. Quine and Alexander B. Quine on October 18, 2005
assigned to Pitney Bowes
ABSTRACT: A method and system for forwarding an e-mail message addressed to a first disfavored e-mail address to a second preferred forwarding e-mail address. A message is received at an e-mail forwarding computer, the message identifying the first disfavored e-mail address. The e-mail forwarding computer parses the first e-mail address from the message to determine if there is a second preferred forwarding e-mail address associated with the first e-mail address. If there is a second e-mail address associated with the first e-mail address, the e-mail forwarding computer sends the e-mail message to a third computer associated with the second e-mail address.
US Patent 6,957,248 complete patent PDF text and images
FIELD OF THE INVENTION: The present invention relates to a system and method for forwarding electronic messages, and more particularly, relates to forwarding e-mail messages intended to be initially delivered to an obsolete or disfavored address to a chosen forwarding address associated with the obsolete or disfavored e-mail address.
Method For Displaying An Environmentally Modulated Expiration Date U. S. Patent Number 6,985,408
awarded to Douglas B. Quine on January 10, 2006
assigned to Pitney Bowes
ABSTRACT: A system and method for dynamically adjusting expiration dates displayed on consumer products, the system and method utilizing an LCD display for displaying an expiration date and messages, sensors for monitoring environmental conditions, a clock for counting back the expiration date, and a controller for determining messages and adjustments to the displayed expiration date based on monitored environmental conditions.
US Patent 6,985,408 complete patent PDF text and images
FIELD OF THE INVENTION: See US Patent #6,795,376 Method For Displaying An Environmentally Modulated Expiration Date for summary of invention; this patent expands the claims.
Method for providing address change notification in an electronic message forwarding system U. S. Patent Number 6,988,129
awarded to Douglas B. Quine on January 17, 2006
assigned to Pitney Bowes
ABSTRACT: A method and system for providing address change notification in an e-mail forwarding system by providing a pre-generated e-mail address change notification to recipients selected during registration in the e-mail forwarding system. The e-mail forwarding system operating when a message is received at an e-mail forwarding computer, the message identifying the first disfavored e-mail address. The e-mail forwarding computer parses the first e-mail address from the message to determine if there is a second preferred forwarding e-mail address associated with the first e-mail address. If there is a second e-mail address associated with the first e-mail address, the e-mail forwarding computer sends the e-mail message to a third computer associated with the second e-mail address.
US Patent 6,988,129 complete patent PDF text and images
FIELD OF THE INVENTION: The present invention relates to a system and method for providing address change notification to correspondents in connection with an e-mail forwarding system. The e-mail forwarding system forwards e-mail messages intended to be initially delivered to an obsolete or disfavored address to a chosen forwarding address associated with the obsolete or disfavored e-mail address.
System and method for grouping mail pieces in a sorter U. S. Patent Number 7,004,396
awarded to Douglas B. Quine and Christopher A. Baker on February 28, 2006
assigned to Pitney Bowes
ABSTRACT: A mailpiece sorter system including a mailpiece feeding assembly operative to selectively feed mailpieces singularly or in groupings of mailpieces consisting of more than one mailpiece and a mailpiece sortation assembly operatively coupled to the mailpiece feeding assembly. The mailpiece sortation system includes a plurality mailpiece sortation bins and a diverting assembly for directing fed mailpieces into a predetermined mailpiece sortation bins. A control system is operatively coupled to the mailpiece feeding assembly to determine which mailpieces are to be singularly fed from said feeding assembly and which mailpieces are to be fed from said feeding assembly in a predetermined grouping of mailpieces.
US Patent 7,004,396 complete patent PDF text and images
FIELD OF THE INVENTION: The present invention relates to media item handling equipment and more particularly to a system and method for grouping mail pieces in a sorter.
E-Mail Forwarding System Having Archival Database U. S. Patent Number 7,016,938
awarded to Douglas B. Quine on March 21, 2006
assigned to Pitney Bowes
ABSTRACT: A method for forwarding an e-mail message from a disfavored e-mail address to a forwarding e-mail address via a remote e-mail forwarding computer having a unique e-mail address. An e-mail message is sent from a user to the remote e-mail forwarding computer. The remote e-mail forwarding computer parses the intended e-mail address from the e-mail message to determine if there is a disfavored e-mail address associated with the intended e-mail address. The e-mail message is sent from the remote computer to a computer associated with at least one forwarding address if there is determined at least one disfavored e-mail address is associated with the intended e-mail address. If there is not a determined forwarding e-mail address than the remote computer stores at least the disfavored e-mail in archival for forwarding in the event a forwarding address is subsequently stored in the remote computer which is associated with the disfavored e-mail address.
US Patent 7,016,938 complete patent PDF text and images
FIELD OF THE INVENTION: The present invention relates to a system and method for forwarding electronic e-mail messages, and more particularly, relates to a system and method which archives requests for forwarding e-mail messages from undeliverable e-mail addresses and checks each new subscriber and address registration to determine if there is a forwarding e-mail address available for the previous undeliverable e-mail message.
Method and system for isolating and testing biological contaminants in mail packages U. S. Patent Number 7,060,927
awarded to Douglas B. Quine and Denis J. Stemmle on June 13, 2006
assigned to Pitney Bowes
ABSTRACT: A method and system for encapsulating mail containers delivered to a building so as to prevent possible contaminants in the mail containers from contaminating the building. An opening is provided on a building wall that substantially separates indoor air circulation from the outdoor air for receiving the mail containers. A plastic tube having a closed end and an open end is used to encapsulate the mail containers. The open end is securely attached to the opening in the wall for receiving the mail containers into the tube, while preventing air circulation outside the building from entering the opening. A sealing device is used to seal the plastic tube for keeping the mail containers in separate sealed sections. A severing device is used to separate the sealed sections in the encapsulated packages so that the encapsulated packages can be tested for the possible contaminants.
US Patent 7,060,927 complete patent PDF text and images
FIELD OF THE INVENTION: The present invention relates generally to biohazard detection and, more particularly, to the isolation of unknown mail in a building for safety testing.
Method for determining e-mail address format rules U. S. Patent Number 7,149,780
awarded to Douglas B. Quine and Karl H. Schumacher on December 12, 2006
(reissued #re43,188 on January 17, 2012)
assigned to Pitney Bowes
ABSTRACT: A method for determining e-mail address formatting rules corresponding to particular domain names, whereby e-mail address data is collected and sorted based on domains. Based on the gathered data for particular domains, a pattern is identified and an e-mail address formatting rule is determined. Format rule information is stored for future use to assist in correcting and directing e-mail messages so that they may be received by their intended recipients. Gathering of e-mail address data occurs by directly gathering e-mail addresses and e-mail address format data directly from entities responsible for the domain or format are derived based on patterns observed in collected address data for particular domains. Data for developing these patterns may be gathered from e-mail address information resident on the Internet, e-mail address information from e-mail address books, or from public e-mail address listings.
US Patent 7,149,780 complete patent PDF text and images
FIELD OF THE INVENTION: The present invention relates to a system and method for correcting incorrect, or undeliverable, addresses of electronic messages, and more particularly, techniques for determining the appropriate formatting rules for a given address, and steps for processing an undeliverable message to provide a suggestion for a corrected address.
System and method for determining and reporting whether a mail piece has been opened by a recipient U. S. Patent Number 7,156,290
awarded to Denis J. Stemmle, Jacques E. Hasbani, Judith D. Auslander,
Douglas B. Quine, David Wittenberg, and Pushpavadan S. Nagarsheth on January 2, 2007
assigned to Pitney Bowes
ABSTRACT: A system for determining whether a mail piece has been opened including mail pieces that have the ability indicate a previously opened and never opened state, such as with a state change element, an interrogator unit, such as an RFID reader, for receiving state information, and a data center that receives the state information from the interrogator unit. Also, a method for determining whether a mail piece has been opened including receiving mail pieces at a recipient location, receiving at an interrogator unit, such as an RFID reader, state information from the mail pieces, and transmitting the state information from the interrogator unit to a data center. In either the system or method, each mail piece may have an RFID tag that communicates with the state change element and transmits the state information to the RFID reader. Bar code or other technologies may be substituted for RFID technology.
US Patent 7,156,290 complete patent PDF text and images
FIELD OF THE INVENTION: The invention disclosed herein relates to mail processing systems, and more particularly to a system and method for determining and reporting whether, and preferably when, a mail piece has been opened by a recipient.
Method for providing address change notification in an electronic message forwarding system U. S. Patent Number 7,191,222
awarded to Douglas B. Quine on March 13, 2007
assigned to Pitney Bowes
ABSTRACT: A method and system for providing address change notification in an e-mail forwarding system by providing a pre-generated e-mail address change notification to recipients selected during registration in the e-mail forwarding system. The e-mail forwarding system operating when a message is received at an e-mail forwarding computer, the message identifying the first disfavored e-mail address. The e-mail forwarding computer parses the first e-mail address from the message to determine if there is a second preferred forwarding e-mail address associated with the first e-mail address. If there is a second e-mail address associated with the first e-mail address, the e-mail forwarding computer sends the e-mail message to a third computer associated with the second e-mail address.
US Patent 7,191,222 complete patent PDF text and images
FIELD OF THE INVENTION: The present invention relates to a system and method for providing address change notification to correspondents in connection with an e-mail forwarding system. The e-mail forwarding system forwards e-mail messages intended to be initially delivered to an obsolete or disfavored address to a chosen forwarding address associated with the obsolete or disfavored e-mail address.
Barcode with enhanced additional stored data U. S. Patent Number 7,229,025
awarded to John W. Sussmeier, Judith D. Auslander, Donald G. MacKay,
Andrei Obrea, and Douglas B. Quine on June 12, 2007
assigned to Pitney Bowes
ABSTRACT: A printed barcode including first basic barcode information stored in a first basic mode of printed data storage, and second additional enhanced barcode information stored in a second enhanced mode of printed data storage. The second information is printed, at least partially, as a component of the first information. The first information is adapted to be read by a basic barcode reader. The second information is adapted to be read by an enhanced barcode reader and cannot be read by the basic barcode reader.
US Patent 7,229,025 complete patent PDF text and images
FIELD OF THE INVENTION: The present invention relates to barcodes and, more particularly, to a barcode having a first basic stored information structure and a second enhanced stored information structure.
Method for enhancing mail piece processing system U. S. Patent Number 7,258,277
awarded to Christopher A. Baker and Douglas B. Quine on August 21, 2007
assigned to Pitney Bowes
ABSTRACT: A method for processing mail pieces having information thereon includes scanning the mail piece information and storing scanned mail piece information. Stored information is accessed when a scanned mail piece information is incomplete to obtain previously stored complete mail piece information. The previously stored complete mail piece information is employed in processing the mail piece with the incomplete information. The information may be a code or text that is scanned and stored during the processing of the mail. Fragmentary information from various sources on the scanned mail piece may be combined to access a previously stored mail piece record. The accessed information may be displayed.
US Patent 7,258,277 complete patent PDF text and images
FIELD OF THE INVENTION: The present invention relates to mail piece handling systems and more particularly a method for enhancing the sortation of mail pieces.
Method and device for isolating, collecting and transferring hazardous samples U. S. Patent Number 7,340,970
awarded to Douglas B. Quine, Denis J. Stemmle, John E. Massucci, and Deborra J. Zukowski on March 11, 2008
assigned to Pitney Bowes
ABSTRACT: A method and system for isolating, transferring and testing potentially contaminated mail pieces. The mail pieces are encapsulated in a sealed package at one location and transferred to another location for testing. During testing, the sealed package is connected to an air sampling system, which directly draws an air sample from the sealed package. At the end of testing, the air pressure in the sealed package is sufficiently reduced, causing the sealed bag to collapse. A septum or a tube with a self-sealed coupler is provided on the sealed package to allow the air sampling system to draw air out of the sealed package. When the air sampling system is not connected to the sealed package, the septum or the self-sealed coupler prevents the air inside the sealed package from escaping into the environment. It is advantageous to disturb the mail pieces during air sampling.
US Patent 7,340,970 complete patent PDF text and images
FIELD OF THE INVENTION: The present invention relates generally to biohazard detection and, more particularly, to the isolation, collection and transferring of a biohazard sample trapped in a filter of a detection system.
System and method for preventing security ink tampering U. S. Patent Number 7,341,334
awarded to Judith D. Auslander and Douglas B. Quine on March 11, 2008
assigned to Pitney Bowes
ABSTRACT: An ink supply system for a printer including an inner chamber comprising a controlled security ink; an outer chamber comprising a chemical; an ink conduit from the inner chamber through and out of the outer chamber; and a rupture wall at a junction between the inner chamber and the outer chamber. The ink conduit keeps the chemical away from the ink when the ink travels from the inner chamber out of the ink supply system. When the rupture wall is ruptured, the chemical is adapted to interact with the controlled security ink to indicate that the rupture has occurred.
US Patent 7,341,334 complete patent PDF text and images
FIELD OF THE INVENTION: The present invention relates to controlled security inks and, more particularly, to controlling use of a controlled security ink.
Bar code recognition method and system for paper handling equipment U. S. Patent Number 7,387,251
awarded to Christopher A. Baker and Douglas B. Quine on June 17, 2008
assigned to Pitney Bowes
ABSTRACT: A method and system for reading various codes, such as codes imprinted on an item, includes a first and a second code reader that each scan the code on the item to read the code. The data obtained by the first and the second code reader is merged to reconstruct the code on said item. The position of the code readers may be adjusted such that the maximum reading efficiency of said code by each code reader occurs at different points of the scanned code. The method and system may be employed with different types of codes including various forms of bar codes.
US Patent 7,387,251 complete patent PDF text and images
FIELD OF THE INVENTION: The present invention relates to a bar code recognition method and system and more particularly to an enhanced bar code recognition method and system for paper handling equipment.
Integrated payment for international business reply mail U. S. Patent Number 7,389,274
awarded to Ronald P. Sansone, Erik Monsen, and Douglas B. Quine on June 17, 2008
assigned to Pitney Bowes
ABSTRACT: The invention makes it easier for the post office to calculate accurately terminal dues for business reply mail by providing information to the post regarding each piece of business reply mail that crosses an international border. The foregoing is accomplished by charging a sender's meter for business reply mail that is being deposited with a first carrier; transmitting the funds charged to the meter to a meter data center; transmitting from the meter data center to a first carrier meter payment center the funds attributable to the first and second carriers; and transmitting from the first meter payment data center to the second meter payment data center the funds attributable to the second carrier.
US Patent 7,389,274 complete patent PDF text and images
FIELD OF THE INVENTION: The invention relates generally to the field of mailing systems and, more particularly, to methods for paying for international business reply mail.
System and method for grouping mail pieces in a sorter U. S. Patent Number 7,414,219
awarded to Douglas B. Quine and Christopher A. Baker on August 19, 2008
assigned to Pitney Bowes
ABSTRACT: A method and system for processing of media items includes a separator system feeding a series of media items onto a transport system that is controlled such that adjacent media items destined for the same sortation bin are transported along a transport path as a group of media items to the same sortation bin and such that adjacent media items destined for different sortation bins are separated for separate transport along the transport path to the different sortation bins.
US Patent 7,414,219 complete patent PDF text and images
FIELD OF THE INVENTION: The present invention relates to media item handling equipment and more particularly to a system and method for grouping mail pieces in a sorter.
Method and device for collecting and transferring biohazard samples U. S. Patent Number 7,491,548
awarded to Douglas B. Quine, Ashwani Sharma, and John Massucci on February 17, 2009
assigned to Pitney Bowes
ABSTRACT: A method and system for collecting airborne particles and hydrating the collected particles for analysis. The airborne particles, which may be biological contaminants, are collected from a container containing one or more mailpieces. In the collection stage, a dry filter collection assembly is connected to the container and air is drawn out of the container through a dry filter. A hydration solution is then injected into the collection assembly to hydrate the collected particles. Part of the hydration solution containing the collected particles is caused to move out of the collection assembly to a test cartridge for further testing.
US Patent 7,491,548 complete patent PDF text and images
FIELD OF THE INVENTION: The present invention relates generally to biohazard detection and, more particularly, to the transferring of a biohazard sample trapped in a filter to a detection system.
Method and system for protecting privacy of signature on mail ballot utilizing optical shutters U. S. Patent Number 7,527,199
awarded to Douglas B. Quine and Frederick W. Ryan, Jr. on May 5, 2009
assigned to Pitney Bowes
ABSTRACT: Methods and systems that protect the privacy of signatures on envelopes containing ballots sent through the mail are provided. The envelope for returning ballots by mail includes an electronic optical shutter that covers an opening in the flap of the envelope. The voter signs the back of the envelope in an area that will be visible through the opening in the flap (covered by the optical shutter) when the envelope flap is sealed. The optical shutter is opaque under static conditions, but will become transparent when power is supplied to it. When the envelope flap is sealed and no power is applied to the optical shutter, the voter's signature will be concealed by the optical shutter. Upon receipt at the registrar's office, the optical shutter can be powered, thereby rendering the optical shutter transparent, and the voter's signature can be viewed.
US Patent 7,527,199 complete patent PDF text and images
FIELD OF THE INVENTION: The invention disclosed herein relates generally to voting systems, and more particularly to a method and system for protecting privacy of signatures on ballots sent through the mail.
System And Method For Address Correction Of Electronic Messages U. S. Patent Number 7,543,026
awarded to Douglas B. Quine and Karl H. Schumacher on June 2, 2009
ABSTRACT: A method for providing a corrected e-mail address, whereby the domain portion of the e-mail address is parsed and, referring to a domain format rule database, a format rule or requirement corresponding to the domain is identified. A user is informed of the format rule so that the e-mail address can be checked and corrected as necessary. The method also checks whether the format rules have been complied with, and alternative spellings and suggested corrections are determined and provided.
US Patent 7,543,026 complete patent PDF text and images
FIELD OF THE INVENTION: The present invention relates to a system and method for correcting incorrect, or undeliverable, addresses of electronic messages, and more particularly, techniques for determining the appropriate formatting rules for a given address, and steps for processing an undeliverable message to provide a suggestion for a corrected address.
Method for providing address change notification in an electronic message forwarding system U. S. Patent Number 7,558,831
awarded to Douglas B. Quine on July 7, 2009
ABSTRACT: A method and system for providing address change notification in an e-mail forwarding system by providing a pre-generated e-mail address change notification to recipients selected during registration in the e-mail forwarding system. The e-mail forwarding system operating when a message is received at an e-mail forwarding computer, the message identifying the first disfavored e-mail address. The e-mail forwarding computer parses the first e-mail address from the message to determine if there is a second preferred forwarding e-mail address associated with the first e-mail address. If there is a second e-mail address associated with the first e-mail address, the e-mail forwarding computer sends the e-mail message to a third computer associated with the second e-mail address.
US Patent 7,558,831 complete patent PDF text and images
(continuation of patents 6,988,129 and 7,191,222)
FIELD OF THE INVENTION: The present invention relates to a system and method for providing address change notification to correspondents in connection with an e-mail forwarding system. The e-mail forwarding system forwards e-mail messages intended to be initially delivered to an obsolete or disfavored address to a chosen forwarding address associated with the obsolete or disfavored e-mail address.
E-mail forwarding system having archival database U. S. Patent Number 7,580,983
awarded to Douglas B. Quine on August 25, 2009
ABSTRACT: A method for forwarding an e-mail message from a disfavored e-mail address to a forwarding e-mail address via a remote e-mail forwarding computer having a unique e-mail address. An e-mail message is sent from a user to the remote e-mail forwarding computer. The remote e-mail forwarding computer parses the intended e-mail address from the e-mail message to determine if there is a disfavored e-mail address associated with the intended e-mail address. The e-mail message is sent from the remote computer to a computer associated with at least one forwarding address if there is determined at least one disfavored e-mail address is associated with the intended e-mail address. If there is not a determined forwarding e-mail address than the remote computer stores at least the disfavored e-mail in archival for forwarding in the event a forwarding address is subsequently stored in the remote computer which is associated with the disfavored e-mail address.
US Patent 7,580,983 complete patent PDF text and images
(continuation of patent 7,016,938)
FIELD OF THE INVENTION: The present invention relates to a system and method for forwarding electronic e-mail messages, and more particularly, relates to a system and method which archives requests for forwarding e-mail messages from undeliverable e-mail addresses and checks each new subscriber and address registration to determine if there is a forwarding e-mail address available for the previous undeliverable e-mail message.
System for selective delivery of electronic communications U. S. Patent Number 7,596,600
awarded to Douglas B. Quine and Richard D. Blue on September 29, 2009
ABSTRACT: The present invention relates to an apparatus and method for selective delivery of electronic communications to reduce the amount of unwanted email (spam) that is received. An electronic message is not delivered to a recipient until the sender address is verified. If the address is not verified, it can be compared to a database that includes known spammers. Also, records of spamming and forged emails can be compiled and forwarded to an enforcement agency.
US Patent 7,596,600 complete patent PDF text and images
FIELD OF THE INVENTION: The present invention relates generally to selective delivery of electronic communications, particularly preventing delivery of unwanted electronic communications, such as SPAM sent from a sender to a recipient. More particularly, the present invention relates to verifying a sender's address and/or electronic routing headers and delivering only those communications that are transmitted from an authentic source. A third party may accumulate information relating to a request from a recipient to unsubscribe from a source or type of electronic communications. The third party may use the accumulated information to take corrective action against senders who abuse requests of a recipient to unsubscribe.
Confirming cancellation of truncated checks U. S. Patent Number 7,653,233
awarded to Douglas B. Quine and Frederick W. Ryan, Jr. on January 26, 2010
assigned to Pitney Bowes
ABSTRACT: A method of operating a check processing system includes scanning a check on a first occasion to generate a first image of the check. The first image is transmitted to a financial institution. The check is scanned on a second occasion later than the first occasion to generate a second image of the check. The second image of the check is transmitted to the financial institution. The second image of the check is examined to determine whether the check was cancelled prior to the second occasion.
US Patent 7,653,233 complete patent PDF text and images
FIELD OF THE INVENTION: This invention relates generally to the field of information processing systems used in the financial services industry, and more particularly to processing of paper checks.
Integrated ballot and voting envelope with voter verification security U. S. Patent Number 7,690,566
awarded to Douglas B. Quine and Bertrand Haas on April 6, 2010
assigned to Pitney Bowes
ABSTRACT: A method and form for an integrated voting system includes a single sheet having ballot information, verification information and mailing information thereon. The sheet is folded to form various panels including a first and a second panel having ballot information thereon. Sealing means is provided on one of the first and second panels and located to obscure the ballot information from view when used seal the first and the second panels. A verification panel is attached to the first and said second ballot panels to provide for verification. A first mailing panel is attached to one of the first and the second ballot panel and said verification panel to form an outer mailing envelope such that the ballot panels and verification panel can be mailed to a voting authority for processing. The panels may be of different heights to facilitate processing by a voting authority.
US Patent 7,690,566 complete patent PDF text and images
FIELD OF THE INVENTION: The present invention relates generally to voting systems and, and more particularly, to an integrated ballot and voting envelope which may also provide voter verification security.
Vote by mail envelope that protects privacy of voter's signature U. S. Patent Number 7,766,233
awarded to Bertrand Haas, Douglas B. Quine, Clare E. Woodman, and Valentino Guyett on August 3, 2010
assigned to Pitney Bowes
ABSTRACT: A vote-by-mail return envelope includes a pouch for receiving a ballot. The pouch is formed from a front sheet and a rear sheet. A signature space is provided to be signed by the voter. The envelope also includes an adhesion region at which the front sheet is adhered to the rear sheet to define a boundary of the pouch. The adhesion region separates the signature space from the pouch. Further, the envelope includes a flap to be attached to at least one of the rear sheet and the front sheet to cover the signature space. The signature space may be on the flap, the rear sheet or front sheet.
US Patent 7,766,233 complete patent PDF text and images
FIELD OF THE INVENTION: The invention disclosed herein relates generally to vote by mail systems, and more particularly to an envelope that protects the privacy of signatures on ballots sent through the mail.
System and method for synchronizing a strobe in video image capturing U. S. Patent Number 7,859,563
awarded to Douglas B. Quine on December 28, 2010
assigned to Pitney Bowes
ABSTRACT: A method and system for use in viewing a mail item moving in a mailing machine. A video camera is used to acquire an image of the mail item, and a light source triggered by one of the vertical sync pulses provided by the video camera is used to provide repeated short flashes of light to illuminate the mail item while its image is acquired by the camera. Preferably, a sensor is used to provide an arrival signal when the mail item enters the field-of-view of the camera so that the light source is triggered only when it is also enabled by the arrival signal. A video display device, operatively connected to the video camera, is used to display the acquired image for viewing. Alternatively, the acquired image is stored in a storage device for viewing at a later time.
US Patent 7,859,563 complete patent PDF text and images
FIELD OF THE INVENTION: The present invention relates generally to video imaging and, more particularly, to capturing images of a mailpiece or other mail-related item in a mailing machine.
System and process for reducing number of stops on delivery route by identification of standard class mail U. S. Patent Number 7,868,264
awarded to Denis Stemmle, Donald Caddy, and Douglas B. Quine on January 11, 2011 (1/11/11)
assigned to Lockheed Martin Corporation
ABSTRACT: A system and method are disclosed for sorting mail pieces that may include both standard and higher class mail. The mail pieces are for delivery to various addresses, and the present invention postpones delivery to some addresses if those addresses are receiving insufficient mail. According to this method, data is collected about each mail piece, and that data for each mail piece is associated with a respective holder that holds the mail piece. Mail is withheld from immediate delivery if the collected data associated with the holder indicates that the mail piece is standard class having a non-immediate delivery deadline, provided that the collected data associated with other holders indicates that there are no other pieces having the same address and having either a higher class or an immediate delivery date.
US Patent 7,868,264 complete patent PDF text and images
FIELD OF THE INVENTION: The invention disclosed herein relates generally to carrier sequence sorting and more particularly to one-pass carrier sequence sorting that delays delivery of some mail.
Method for detecting perforations on the edge of an image of a form U. S. Patent Number 7,889,885
awarded to Robert Cordery, Matthew Campagna, Thomas Foth, Bertrand Haas, and Douglas B. Quine on February 15, 2011
assigned to Pitney Bowes
ABSTRACT: A method for detecting whether perforations are present on the edge of an image of a form, such as a check, includes obtaining a bitmap of the image, identifying a selected portion of the bitmap that corresponds to at least the edge and that includes a matrix of a plurality of rows and columns of brightness values, and selecting a particular one of the rows of brightness values. The method further includes performing a Fourier transform of the brightness values included in the particular selected row to generate a Fourier transform output, and determining whether a series of perforations is present based on the Fourier transform output. The method may also include steps wherein the brightness values are low pass filtered and wherein the values in the selected row are high pass filtered prior to the step of performing a Fourier transform.
US Patent 7,889,885 complete patent PDF text and images
FIELD OF THE INVENTION: The present invention relates to optical detection systems and in particular to a method for detecting perforations on the edge of an image of a form such as a check.
Confirming cancellation of truncated checks U. S. Patent Number 7,894,655
awarded to Douglas B. Quine and Frederick W. Ryan, Jr.
on February 22, 2011
assigned to Pitney Bowes
ABSTRACT: A method of operating a check processing system includes scanning a check on a first occasion to generate a first image of the check. The first image is transmitted to a financial institution. The check is scanned on a second occasion later than the first occasion to generate a second image of the check. The second image of the check is transmitted to the financial institution. The second image of the check is examined to determine whether the check was cancelled prior to the second occasion.
US Patent 7,894,655 complete patent PDF text and images
FIELD OF THE INVENTION: This is a continuation of application Ser. No. 11/224,274 filed Sep. 12, 2005 [patent #7,653,233 issued Jan 26, 2010], which is owned by Pitney Bowes Inc. the assignee of this application. This invention relates generally to the field of information processing systems used in the financial services industry, and more particularly to processing of paper checks.
Method and system for protecting privacy of signatures on mail ballots U. S. Patent Number 7,922,208
awarded to Bertrand Haas, Douglas B. Quine, Bradley R. Hammell, and Matthew J. Campagna
on April 12, 2011
assigned to Pitney Bowes
ABSTRACT: An envelope used in voting by mail includes a signature area on which the signature is affixed and a concealing portion structured to cover the signature area thereby concealing the signature. The concealing portion includes a concealing layer that is preferably positioned on top of a protective layer. The protective layer is positioned between the signature area and the concealing layer when the concealing portion covers the signature area. The concealing layer is formed from a material that is normally opaque but becomes at least partially transparent when one or more chemicals are applied to the concealing layer. The protective layer protects the signature from the one or more chemicals since the protective layer is impermeable to the one or more chemicals.
US Patent 7,922,208 complete patent PDF text and images
FIELD OF THE INVENTION: The invention disclosed herein relates to voting systems, and more particularly to a method and system for protecting the privacy of signatures on ballots sent through the mail.
Sorting method and system with dynamically re-allocated sortation bins U. S. Patent Number 7,923,655
awarded to Douglas B. Quine and Christopher A. Baker
on April 12, 2011
assigned to Pitney Bowes
ABSTRACT: A sorter system includes a plurality of sortation bins with a feed path connected to the plurality of sortation bins for transporting media items to destination sortation bins. A controller is connected to control the plurality of sortation bins and is operable during a sortation process to reassign the destination sortation bin into which a media item is sorted. The system operation may employ a method for sorting media items where a plurality of media items are fed onto a transport system for sortation. Each media items is sorted into a destination sortation bin of a plurality of sortation bins connected to said transport system. Destination sortation bins for media items are dynamically reassigned based of the determined status of the media items in the sortation bins. The status of media items is sensed in each of said plurality of sortation bins may be determined based on sensors associated with the equipment or tracked by a controller or other techniques which track the mail pieces being processed. Destination sortation bins may be assigned to accommodate overflow capacity from existing bins thereby creating larger effective bins. They may also be assigned to allow the reuse of existing bins thereby creating a sortation system with a greater effective number of sortation bins.
US Patent 7,923,655 complete patent PDF text and images
FIELD OF THE INVENTION: The present invention relates to media handling systems and more particularly to a sorting system and method having dynamically re-allocated sortation bins.
Virtual code for delivery to the nearest building of organizations having multiple buildings U. S. Patent Number 7,949,424
awarded to Douglas B. Quine
on May 24, 2011
assigned to Pitney Bowes
ABSTRACT: A method that enables the post to deliver mail addressed to a recipient nearest location virtual address to be delivery directly to the recipient's nearest designated location or facility to the place the mail was posted. Mail addressed to the nearest location virtual address (mapping to a street address or post office box) would be captured by the post during the post's sortation process and routed to the nearest location or facility to the place the mail was posted. This enables the recipient to receive their mail more quickly since the amount of delivery time is reduced.
US Patent 7,949,424 complete patent PDF text and images
FIELD OF THE INVENTION: The invention relates generally to the field of mail delivery systems and more particularly to methods for delivering mail addressed to a recipient's nearest designated location to the place the mail was posted.
U. S. Patent Number 7,972,869
Method and device for collecting and transferring biohazard samples
awarded to Douglas B. Quine, Ashwani Sharma, John E. Massucci, and Candace Lee Summers
on July 5, 2011
assigned to Pitney Bowes
ABSTRACT: A method and system for collecting airborne particles and hydrating the collected particles for analysis. The airborne particles, which may be biological contaminants, are collected from a container containing one or more mailpieces. In the collection stage, a dry filter collection assembly is connected to the container and air is drawn out of the container through a dry filter. A hydration solution is then injected into the collection assembly to hydrate the collected particles. Part of the hydration solution containing the collected particles is caused to move out of the collection assembly to a test cartridge for further testing.
US Patent 7,972,869 complete patent PDF text and images
FIELD OF THE INVENTION: The present invention relates generally to biohazard detection and, more particularly, to the transferring of a biohazard sample trapped in a filter to a detection system.
U. S. Patent Number 8,022,329
System and method for full escort mixed mail sorter using mail clamps
awarded to Denis J. Stemmle and Douglas B. Quine
on September 20, 2011
assigned to Lockheed Martin Corporation
ABSTRACT: A sorting system accepts a group of mail pieces at a loading station, sorts them, and then moves them to an unloading station. The system includes a reader for retrieving delivery information associated with each mail piece, and also includes clamps dimensioned for receipt of a mail piece into each clamp. The system has a device for creating an association between the retrieved delivery information of each mail piece and its respective clamp. The system also has a sorter for moving the clamps holding the mail pieces, based upon the association of each clamp with the retrieved delivery information, so that the mail pieces held by the clamps are sorted according to a desired delivery sequence. Additionally, the system includes a mechanism for opening the sorted clamps to release the mail pieces at the unloading station.
US Patent 8,022,329 complete patent PDF text and images
FIELD OF THE INVENTION: The present invention relates generally to mail sorting, and more particularly to one-pass carrier sequence sorting, and multi-pass sorting systems.
U. S. Patent Number 8,073,195
Method and apparatus for detecting malfunctioning print elements in postage meter indicia printer
awarded to Douglas B. Quine and John P. Miller
on December 6, 2011
assigned to Pitney Bowes
ABSTRACT: In a mailing machine, an image element included in a postage meter indicium printed on a mail piece is transported past a linear image capture device. The image capture device is operated to produce a smeared image of the image element. The smeared image is then automatically analyzed to detect failures in the print elements of a postage meter that is part of the mailing machine.
US Patent 8,073,195 complete patent PDF text and images
FIELD OF THE INVENTION: This invention relates generally to the field of mailing machines, and more particularly to a mailing machine that has capabilities for detecting malfunctions in its printing component.
U. S. Patent Number re43,118
Method for determining e-mail address format rules
awarded to Douglas B. Quine and Karl H. Schumacher on January 17, 2012
(reissue of Patent 7,149,780 with additional claims)
assigned to Turnpike Data Processing
ABSTRACT: A method for determining e-mail address formatting rules corresponding to particular domain names, whereby e-mail address data is collected and sorted based on domains. Based on the gathered data for particular domains, a pattern is identified and an e-mail address formatting rule is determined. Format rule information is stored for future use to assist in correcting and directing e-mail messages so that they may be received by their intended recipients. Gathering of e-mail address data occurs by directly gathering e-mail addresses and e-mail address format data directly from entities responsible for the domain or format are derived based on patterns observed in collected address data for particular domains. Data for developing these patterns may be gathered from e-mail address information resident on the Internet, e-mail address information from e-mail address books, or from public e-mail address listings.
US Patent re43,118 complete patent PDF text and images
FIELD OF THE INVENTION: The present invention relates to a system and method for correcting incorrect, or undeliverable, addresses of electronic messages, and more particularly, techniques for determining the appropriate formatting rules for a given address, and steps for processing an undeliverable message to provide a suggestion for a corrected address.
U. S. Patent Number 8,145,265
Method and System for Producing Hard Copies of Electronic Information Employing a Portable Personal Receiving Device
awarded to J. Brent Pawlecki and Douglas B. Quine on March 27, 2012
assigned to Pitney Bowes
ABSTRACT: A method for producing hard copies of electronic information employing a portable personal receiving device includes the steps of selecting information to print and utilizing the receiving device to identify available printers based on the location of the receiving device for printing the selected information in hard copy form. The portable receiving device is connected to one of the available printers and the selected information is printed in hard copy form. A system for producing hard copies of electronic information employing a portable personal receiving device includes a portable receiving device having a program enabling selection of information to print. The portable device includes a program to identify available printers based on the location of the receiving device. A communications link connects the portable receiving device to an available printer. The receiving device may be a cell phone and global positioning satellite functionality and/or cell phone tower positions may be employed to determine the location of the receiving device.
US Patent 8,145,265 complete patent PDF text and images
FIELD OF THE INVENTION: The invention disclosed herein relates generally to a method and system for producing hard copies of electronic information employing a portable personal receiving device and, more particularly, to a method and system for producing hard copies of electronic information employing a cell phone and location determining functionality.
U. S. Patent Number 8,152,067
Time Limited Business Reply Mail
awarded to Douglas B. Quine on April 10, 2012
assigned to Pitney Bowes
ABSTRACT: Systems and methods for utilizing time-dependent markings in systems including a mail delivery system for utilizing time-limited business reply mail are described. A business reply mail authorization permit is applied to a business reply mail piece using a time-dependent marking such as time-dependent ink. After the time-dependent ink changes state, the mail piece is no longer marked as an authorized business reply mail piece.
US Patent 8,152,067 complete patent PDF text and images
FIELD OF THE INVENTION: The illustrative embodiments described in the present application are useful in systems including those for utilizing mail systems and more particularly are useful in systems including those for utilizing time-limited reply mail.
Systems and Methods for Producing and Processing Time Dependent Dynamic Barcodes in a Mail Delivery System U. S. Patent Number 8,152,068
awarded to Luis A. Sanchez and Douglas B. Quine on April 10, 2012
assigned to Pitney Bowes
ABSTRACT: Systems and methods for utilizing time-dependent dynamic barcodes in systems including a mail delivery system for manipulating delivery charges and/or sorting and delivery processing preferences are described.
US Patent 8,152,068 complete patent PDF text and images
FIELD OF THE INVENTION: The illustrative embodiments described in the present application are useful in systems including those for utilizing time-dependent articles and more particularly are useful in systems including those for utilizing time-dependent dynamic barcodes in systems including a mail delivery system for manipulating delivery charges and/or sorting and delivery processing preferences.
U. S. Patent Number 8,235,516
Print enhancement of pixels to improve readability
awarded to Judith D. Auslander and Douglas B. Quine on August 7, 2012
assigned to Pitney Bowes
ABSTRACT: A method to improve the image of a printed barcode by enhancing coverage of the print pixels within solid printed areas to improve the print uniformity and decrease the graininess of the typical ink jet printing by dissolving a small percentage of the colorant and distributing more uniformly. The parameter improved by the invention is the graininess or uniformity of coverage. The contrast ratio within barcode data elements can be also improved without causing unwanted image bleed into unintended areas. Hence, the printed barcode will contain more clearly defined printed and non printed areas to enable the barcode to be accurately read. The invention prevents also unwanted bleeding in areas where it could lower the quality of the printed material by avoiding application of enhanced coverage facilitators when desired white space is identified within a minimum distance.
US Patent 8,235,516 complete patent PDF text and images
FIELD OF THE INVENTION:The invention relates generally to the field of printing and more particularly to improving the readability of printed matter.
U. S. Patent Number 8,237,998
Flexible system for feeding and processing multi-page documents
awarded to Boris Rozenfeld, Douglas B. Quine,
Richard W. Heiden, and Arthur H. DePoi on August 7, 2012
assigned to Pitney Bowes
ABSTRACT: A system for processing documents having fastening devices includes a document transport system and a fastening device detecting station connected to the transport system that is adapted to detect a fastening device securing together pages of a document. The fastening device removing station is adapted to remove a fastening device securing together pages of a document. A scanning station is adapted to scan the pages of a document. A page flipping station is adapted to flip and position pages of a document to be scanned. A systems controller controls the transport system and the stations based on information provided by the fastening device detecting station for a document to be scanned, to cause such document to be processed by the fastening device removing before scanning of the document or by the page flipping station during scanning of the document to be scanned.
US Patent 8,237,998 complete patent PDF text and images
FIELD OF THE INVENTION: The invention disclosed herein relates generally to a flexible system for feeding and processing multi-page documents and, more particularly, to a system that feeds, processes single and multi-page documents that may have the pages fastened together and may have duplexed information on two one or more sheets comprising the document.
U. S. Patent Number 8,287,004
Reusable Windowed Envelope
awarded to Alan Rosen, Allison Dahl, Douglas B. Quine,
and Jay Reichelsheimer on October 16, 2012
assigned to Pitney Bowes
ABSTRACT: A reusable mailing envelope includes a plurality of panels which, in combination, define a pocket for receipt of internal content material. One of the panels includes a window adapted to receive printed information to facilitate routing of the mailing envelope during the initial mail delivery. The reusable envelope also includes a means for preventing the readability of the printed information on the window during a subsequent mail delivery such that the routing instructions associated with the initial mail delivery are not interpreted and executed by the automated scanning equipment during the subsequent mail delivery.
US Patent 8,287,004 complete patent PDF text and images
FIELD OF THE INVENTION: The present invention relates to mailpiece envelopes, and, more particularly, to a new and useful mailpiece envelope adapted for reuse by masking print marks made by automated mailpiece handling equipment.
U. S. Patent Number 8,504,828
Surface profile tracing of a document
awarded to Douglas B. Quine on August 6, 2013
assigned to Pitney Bowes
ABSTRACT: A method for providing an indication of authenticity of an electronic image of a document comprises generating a signal corresponding to a profile of at least one of a number of surfaces of the document, converting the signal into a profile signature, and correlating the profile signature with the electronic image of the document. A method for authenticating an electronic image of a document comprises receiving the electronic image of the document and a profile tracing signature of a surface of the document that is associated with the electronic image, and comparing the profile tracing signature with an exemplar profile tracing signature associated with the document. A document processing system comprises a pickup, a signal processing circuit, and a scanning module and is used for producing a profile tracing signature and electronic image of a document and for correlating the profile tracing signature with the electronic image.
US Patent 8,504,828 complete patent PDF text and images
FIELD OF THE INVENTION: The invention disclosed herein relates generally to verification systems, and in particular, to a system and method for authenticating a document or other item from indicia included thereon.
International Patents awarded
European Patent EP1022693
Closed system meter having address correction capabilities
awarded to Robert W. Allport, Stephen Kelly, Timothy J. Nicholls, Christopher J. Capelli, and Douglas B. Quine on March 14, 2007
assigned to Pitney Bowes (see also U.S. Patent #6,865,561)
- European Patent Number EP1022693 (March 14, 2007)
- French Patent Number 1022693 (March 14, 2007)
- German Patent Number DE69935493D (April 26, 2007)
- United Kingdon Patent Number 1022693 (March 14, 2007)
European Patent EP1544593
Method and system for isolating and testing biological contaminants
awarded to Douglas B. Quine and Denis J. Stemmle on April 2, 2007
assigned to Pitney Bowes (see also U.S. Patent #7,340,970)
- European Patent Number EP1544593 (April 2, 2007)
- French Patent Number 1544593 (April 2, 2007)
- German Patent Number DE602004012829.5-08 (April 2, 2007)
- United Kingdon Patent Number 1544593 (April 2, 2007)
Canadian Patent Number 2,551,844 on September 23, 2008
European Patent Number 1,741,496 (France, Germany, Liechtenstein, Switzerland, UK) on Feb. 4, 2009
Method and system for mitigating threats and hoaxes perpetuated through a mail system
awarded to Douglas B. Quine, James A. Euchner, and John E. Massucci
assigned to Pitney Bowes

European Patent Number 1,791,081
Method for detecting perforation on the edge of an image of a form
(France, Germany, Liechtenstein, Switzerland, UK)
awarded to Robert A. Cordery, Matthew J. Campagna, Thomas J. Foth, Bertrand Haas, and Douglas B. Quine on Jan. 7, 2009
assigned to Pitney Bowes
European Patent Number 1,671,708 (France, Germany, UK)
Method for enhancing mail piece processing system
awarded to Christopher A. Baker and Douglas B. Quine on August 19, 2009
assigned to Pitney Bowes (see also U.S. Patent #7,258,277)
Method for retrieving mailpiece tracking data using mailpiece images
European Patent Number 1,434,175 (France, Germany, Italy, UK)
awarded to Christopher A. Baker, Cortland D. Starrett and Douglas B. Quine on December 2, 2009
assigned to Pitney Bowes
System for tracking mailpieces
European Patent Number 1,439,496 (France, Germany, Italy, UK)
awarded to Christopher A. Baker, Cortland D. Starrett and Douglas B. Quine on December 16, 2009
assigned to Pitney Bowes
System and process for grouping mailpieces in a sorter
European Patent Number 1,676,646 (France, Germany, UK)
awarded to Douglas B. Quine and Christopher A. Baker on April 7, 2010
assigned to Pitney Bowes (see also U.S. Patent #7,004,396)
Barcode with Additional Stored Data
European Patent Number 1,605,396 (France, Germany, UK)
awarded to John W. Sussmeier, Judith D. Auslander, Donald G. MacKay, Andrei Obrea, and Douglas B. Quine on August 25, 2010
assigned to Pitney Bowes (see also U.S. Patent #7,229,025)
System and Method for reducing number of stops on delivery route by identification of standard class mail
European Patent Number 1,793,941 (France, Germany, Italy, Liechtenstein, Switzerland, United Kingdom)
awarded to Denis Stemmle, Donald Caddy, and Douglas B. Quine on Feb. 5, 2012
assigned to Lockheed Martin (see also U.S. Patent #7,868,264)
Method and System for protecting privacy of signature on mail ballot utilizing optical shutter
European Patent Number 1,900,646 (France, Germany, UK)
awarded to Douglas B. Quine and Frederick W. Ryan on October 27, 2010
assigned to Pitney Bowes (see also U.S. Patent #7,527,199)
European Patent Number EP 2199087-B1
Print enhancement of pixels to improve readability
awarded to Judith D. Auslander and Douglas B. Quine on August 7, 2012
assigned to Pitney Bowes (see also U.S. Patent #8,235,516)
ABSTRACT: A method to improve the image of a printed barcode by enhancing coverage of the print pixels within solid printed areas to improve the print uniformity and decrease the graininess of the typical ink jet printing by dissolving a small percentage of the colorant and distributing more uniformly. The parameter improved by the invention is the graininess or uniformity of coverage. The contrast ratio within barcode data elements can be also improved without causing unwanted image bleed into unintended areas. Hence, the printed barcode will contain more clearly defined printed and non printed areas to enable the barcode to be accurately read. The invention prevents also unwanted bleeding in areas where it could lower the quality of the printed material by avoiding application of enhanced coverage facilitators when desired white space is identified within a minimum distance.
FIELD OF THE INVENTION:The invention relates generally to the field of printing and more particularly to improving the readability of printed matter.
Abandoned Patent Applications (but sometimes cited by others)
application 20020080417
Method for Verifying the Authenticity of an Electronic Document
Douglas B. Quine application filed Dec. 27, 2000 but not awarded
ABSTRACT: A method to improve the image of a printed barcode by enhancing coverage of the print pixels within solid printed areas to improve the print uniformity and decrease the graininess of the typical ink jet printing by dissolving a small percentage of the colorant and distributing more uniformly. The parameter improved by the invention is the graininess or uniformity of coverage. The contrast ratio within barcode data elements can be also improved without causing unwanted image bleed into unintended areas. Hence, the printed barcode will contain more clearly defined printed and non printed areas to enable the barcode to be accurately read. The invention prevents also unwanted bleeding in areas where it could lower the quality of the printed material by avoiding application of enhanced coverage facilitators when desired white space is identified within a minimum distance.
application 20020080416
Apparatus for verifying a facsimile document via the internet
Douglas B. Quine application filed Dec. 27, 2000 but not awarded
ABSTRACT: A apparatus for verifying the authenticity of information communicated between a first communication device and a second communication device via a communication network is disclosed. The invention provides for and verifies the authenticity of the communicated information by calculating a checksum of the transmitted information while encrypting the same. The encrypted checksum is convolved with the content of the information intended to be transmitted (document data), thus producing convolved data. The convolved data is transmitted by said first communication device via a communication network to the second communication device. The second communication device is configured to decrypt the encrypted checksum and compute a checksum of the data/document received by such second communications device. Decrypted checksum data is compared with the checksum computed by the second communications device to verify the authenticity of the data/document received by the second communication device. In the event of a mismatch, a recipient at the second communications device is alerted that the received data/document has been tampered with. A recipient may also receive documents or data as an e-mail attachment which may be viewed using appropriate software configured to display such data or documents.
application 20020184164
Method and apparatus for enhancing the productivity of mail processing equipment
Douglas B. Quine application filed May 31, 2001 but not awarded
ABSTRACT: An apparatus and method for enhancing the productivity of mail processing equipment by forwarding monitored information to a processor system, and proactively generating recommendations to prevent equipment breakdown and system performance by comparing the monitored information with preventative maintenance information and business rules stored in a local or remote processor system. The proactive recommendations not only provide customers with preventative maintenance information, but also information regarding better processes and elimination of business practices that are observed to be potentially problematic. Further, cost-benefit recommendations, and recommendations identifying new customers may also be forwarded to the operator or management as part of the feedback recommendations. These generated recommendations are conveyed to customers responsible for the mailings in order to initiate preventative measures, cost savings, and benefit from improved marketing opportunities.
application 20030074288
System and Method for Electronically Reconciling Financial Statements
Douglas B. Quine application filed Oct. 11, 2001 but not awarded
ABSTRACT: A system and method for electronically emulating banking statements and reconciling banking statements using the world-wide-web or Internet. A computer server is provided at a bank site for serving a plurality of remote bank customers. Each customer logs-on to the server using a pre-designated username or account number and a password for authentication. After a successful log-on to the banking server, the customer may request his or her bank statement to be displayed. In the event the customer wishes to reconcile his or her account, an electronic emulation of the bank statement reconciliation form (RF) is presented to the customer. If the RF is not complete with customer account data, then the customer is enabled to add information to the RF. The RF automatically imports data from the customer account to which it is linked. Subsequently, the banking server performs all reconciling calculations associated with balancing the customer account, and reconciled data is displayed to the customer.
application 20040202386
Automatic Paper to Digital Converter and Indexer
Douglas B. Quine application filed April 11, 2003 but not awarded
ABSTRACT: A method and system for processing a paper document, so as to enhance coordination of the paper document with its electronic counterpart, are presented. The paper document is scanned to create an electronic twin having searchable content, and an identification code is put on the paper document. Then the electronic twin and the identification code are stored in a searchable database. The identification code is ascertainable from a search result, and the paper document is then retrievable using the ascertained identification code.
application 20040215478
Method of providing a unique identifier for a mailpiece
Christopher Baker, Douglas B. Quine, and Cortland Starrett application filed December 17, 2003 but not awarded
ABSTRACT: A method for generating PLANET service codes for a batch of mailpieces with the PLANET service code having assignable digits. The PLANET service code is changed to provide a unique tracking number for each mailpiece determinative upon whether a POSTNET service code is known for each mailpiece in the batch of mailpieces, and if known, whether that POSTNET service code was applied to a previous mailpiece in the batch of mailpieces.
application 20050169224
Method for storing mailpiece data
Christopher Baker, Cortland Starrett, and Douglas B. Quine application filed January 29, 2004 but not awarded
ABSTRACT: A method for retrieving mail tracking details of a mailpiece sent to a recipient using a stored image of the mailpiece. A mailpiece is provided with a unique mailpiece tracking identifier and the identifier is stored in a database. An image of the mailpiece is then acquired and also stored in the database in association with the unique mailpiece tracking identifier. Mailpiece tracking details for the mailpiece are then acquired as the mailpiece is delivered to a recipient, which tracking details are stored in the database in association with the mailpiece tracking identifier and stored image. A user seeking the particular tracking details is then presented with at least one stored image of a mailpiece, and when an image is selected by a user, the user is presented with the mail tracking details that were stored in association with the selected mailpiece image.
application 20050171919
Method for generating mailpieces and storing mailpiece identification and tracking information
Christopher Baker, Cortland Starrett, and Douglas B. Quine application filed February 3, 2004 but not awarded
ABSTRACT: A method for retrieving mail tracking details of a mailpiece sent to a recipient using a stored image of the mailpiece. A mailpiece is provided with a unique mailpiece tracking identifier and the identifier is stored in a database. An image of the mailpiece is then acquired and also stored in the database in association with the unique mailpiece tracking identifier. Mailpiece tracking details for the mailpiece are then acquired as the mailpiece is delivered to a recipient, which tracking details are stored in the database in association with the mailpiece tracking identifier and stored image. A user seeking the particular tracking details is then presented with at least one stored image of a mailpiece, and when an image is selected by a user, the user is presented with the mail tracking details that were stored in association with the selected mailpiece image.
application 20060050068
Apparatus For Producing Three Dimensional Static Or Dynamic Images
Denis Stemmle and Douglas B. Quine application filed August 25, 2004 but not awarded
ABSTRACT: A display apparatus creates a modifiable three-dimensional image. The apparatus includes a plurality of non-planar pixel units arranged substantially on a plane. Each of the non-planar pixel units has a visual impact that is a function of direction. An electronic device is provided for modifying said functions to change the three-dimensional image.
application 20070010006
System and method for detecting biohazardous threats
Douglas B. Quine, Ray Pan, and Denis Stemmle application filed June 29, 2005 but not awarded
ABSTRACT: A system and method for detecting a mailpiece contaminated by hazardous agents/materials including at least one contaminant sensor for detecting the presence of a hazardous agent/material and a Radio Frequency Identification (RFID) device in communication with the contaminant sensor. The contaminant sensor issues an alert signal to the RDIF device indicating that a hazardous agent/material has been sensed. The RFID device communicates a signal concerning the current status of the RFID device i.e., indicative of whether the RFID device and, consequently, the mailpiece has been in, or proximal to, the hazardous agent/material.
application 20080042424
Postage stamps having values thereof luminescently encoded thereon and methods of reading such stamps
John Braun, Robert Cordery, Brad Hammell, Douglas B. Quine, and Jay Reichelsheimer application filed August 4, 2006 but not awarded
ABSTRACT: A method includes establishing a coded representation of postage stamp values using luminescence wavelength bands, and producing postage stamps with luminescence characteristics so that each of the postage stamps indicates the respective value of the postage stamp in accordance with the coded representation.
application 20080046384
Postage verification apparatus and methods
John Braun, Robert Cordery, Brad Hammell, Douglas B. Quine, and Jay Reichelsheimer application filed August 4, 2006 but not awarded
ABSTRACT: A postage verification apparatus includes a reading device for reading a luminescent signature of a postage stamp to detect a value of the postage stamp. The apparatus also includes a weighing device for weighing a mailpiece to which the postage stamp is affixed. Further, the apparatus includes a processing device which is responsive to the reading device and the weighing device. The processing device is for determining whether a required amount of postage has been affixed to the mailpiece.
application 20080111674
Tracking condition of mail in transit
Douglas B. Quine application filed November 15, 2006 but not awarded
ABSTRACT: A parcel includes a sensor to detect whether the parcel has experienced a change in condition. The parcel also has a mechanism, such as a changeable barcode, to indicate the change in condition. While the parcel is in transit through a parcel delivery system, a reader that is part of the system reads an indication from the parcel that the parcel has experienced the change in condition. The system may inform the sender and/or the recipient of the fact that the change in condition has been detected and may divert the parcel from delivery to the recipient. In this way, a parcel may self-monitor for potential damage, and the parcel delivery system may react to an event, in which a parcel suffers damage, before the parcel is delivered to the intended recipient.
application 20090083187
Mail sterilization indicator
Douglas B. Quine, Bertrand Haas, Seema Winsor application filed September 26, 2007 but not awarded
ABSTRACT: A mail piece having a sterilization indicator includes an irradiation status area applied to a part of said mail piece. The irradiation status area is adapted to be activated by radiation. The irradiation status area has a first color prior to activation by radiation. The irradiation status area has a second color subsequent to activation by radiation. A method for the processing a mail piece having a sterilization indicator embodying the present invention includes the steps of introducing the mail piece into a postal processing system. The mail piece has an irradiation status area which is adapted to be activated by radiation. The mail piece is radiated and processed to determine whether the radiation has activated the irradiation status area.
application 20090157745
Address Correction Mail Optimization System and Method
Douglas B. Quine, application filed December 13, 2007 but not awarded
ABSTRACT: According to some embodiments, a method and a system are provided to store data regarding a plurality of patterns among recipients listed in a mailing list, and determine whether to request an address correction service for a mailing to the recipients based on (a) a planned date for the mailing and (b) the stored data.
application 20100049536
Methods for Creating Consolidated Mailpieces
Douglas B. Quine, Bradley Hammel, Frederick Ryan, Matthew Campagna, Erik Monsen, and Michael Swenson application filed August 21, 2008 but not awarded
ABSTRACT: A method includes receiving a plurality of mail messages. The plurality of mail messages are all appointed for delivery by mail to the same recipient. Each of the mail messages includes a respective account number for the mail recipient. The method further includes combining the received mail messages into a single combined mailpiece addressed to the mail recipient. All of the account numbers included in the mail messages are mutually different from each other.
application 20100155494
Print containment of pixels to improve readability
Douglas B. Quine and Judith Auslander application filed January 22, 2009 but not awarded
ABSTRACT: A method to improve the image of a printed barcode by causing controlled "bleeding" of the print pixels within solid printed areas surrounded by a barrier to improve the print contrast ratio within the barcode data element by homogenizing the printed data without causing image bleed into unintended areas. Hence, the printed material will contain more clearly defined printed and non printed areas to enable the printed material to be accurately read.
application 20110071924
System and method for processing consumer transactions using a central server and a mobile processor.
John Desmond, Robert Augelli, Thomas Niglio, Douglas B. Quine and Thomas Foth application filed September 18, 2009 but not awarded
ABSTRACT: A system and method for obtaining an item includes retrieving consolidated data concerning an item from a provider infrastructure, the consolidated data including data elements from a source of the item and data elements concerning a mobile user of the provider infrastructure. Verifiable authorization is retrieved from the provider infrastructure for the mobile user of the provider infrastructure to obtain the item from the source of said item consistent with the consolidated data. The consolidated data may have various data elements specific to the source of the items such as price offers, rebates, incentives and discounts and location of the item and various data elements specific to the mobile user such as gift certificates, loyalty programs, buyers' group participation and location of the mobile user in relation to the specific source. The verifiable authorization from said provider infrastructure is displayed on a device for said mobile user of said provider infrastructure to obtain the item from the source of the item consistent with the consolidated data. If a purchase decision is made, the system and method for obtaining an item may also include retrieving payment verification from the provider infrastructure for the item from the source of the item. This payment verification is consistent with the consolidated data and by a preselected method of payment by the mobile user of the provider infrastructure. The provider infrastructure is updated with data related to the mobile user of the provider infrastructure and the source of the item.
application 20110153418 Broadcast Data Mining for Targeted Mail Stream Solicitations.
Douglas B. Quine, John Rojas, John Braun, and Theresa Biasi application filed December 17, 2009 but not awarded
ABSTRACT: A computer receives information that indicates viewing and/or skipping of television commercials by a number of viewers. The computer uses the information to compile statistics that summarize viewing and/or skipping of the television commercials within a geographical area. Based on the statistics, an advertising solicitation is selected by the geographic area and is dispatched on paper to recipients in the geographical area.
|